Det kan være du allerede føler det er trangt nok når du er ute og flyr.
For selskapene er det imidlertid attraktivt å få flere betalende inn på hver flygning.
Derfor tikker det stadig inn søknader til det amerikanske patentstyret US Patent and Trademark Office med ideer om hvordan man kan øke kapasiteten.
Les også: Svensker kjøpte den norske flyplass-teknologien i fjor. I år tar den av
Vil ha flere i høyden
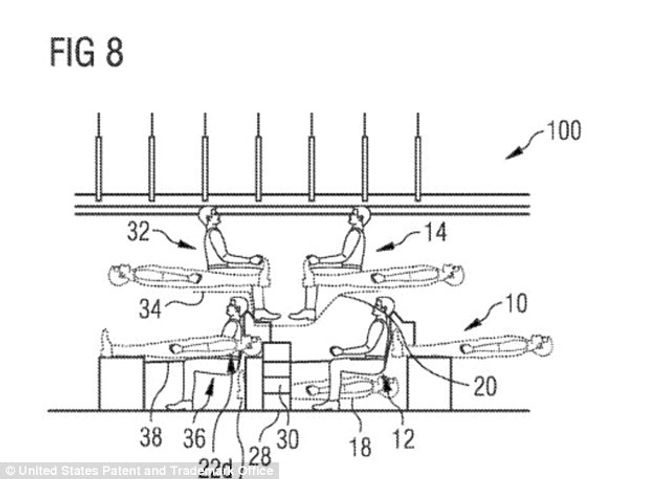
Mange av ideene ser aldri dagens lys, og det er ikke sikkert denne heller gjør det, men et team av Airbus-ansatte i Tyskland har i det minste lagt inn en søknad der de foreslår endringer i businessklasse-delen – eller i den fremste delen av bredskrog-fly.
Engelske Daily Mail skriver at selskapet forsøker å lage en ny type sittestruktur der man endrer på sittemønsteret i flyene der man vanligvis sitter seks på tvers.
Forrige mareritt-patent: Slik vil de stue enda flere passasjerer inn på flyet

To etasjer
Håpet er at man får utnyttet den øverste delen av flyet på en bedre måte enn i dag.
_logo.svg.png)

Det betyr i praksis at man fjerner bagasjeplassen over hodet og plasserer setene oppå hverandre i to forskjellige «etasjer».
Passasjerene skal ha mulighet til å legge ned setene i liggende posisjon uavhengig av hvilken etasje de er i. Ifølge patentsøknaden skal det være en stige eller en trapp på de nederste setene som skal gjøre det mulig å klatre opp i høyden.
Noen av tegningene viser at setene kan bli vinklet slik at passasjerene ikke ser rett i setet foran dem.
Les også: Dette bildet får det til å gå kaldt nedover ryggen på norsk offshorenæring
Vil ha flere passasjerer
I patentsøknaden skriver selskapet at det blir stadig viktigere å utnytte plassen bedre.
– I moderne transportmidler, spesielt i fly, er det fra et økonomisk perspektiv veldig viktig å utnytte den ledige plassen i en passasjerkabin. Kabinene er derfor utstyrt med så mange rader med passasjerseter med så lite plass mellom dem som mulig, står det.
En talskvinne fra Airbus sier til Daily Mail at kabinen i front av flyet fremdeles vil være svært komfortabel og at det vil være nok plass over hodet for passasjerer i begge «etasjene».
.png)

Hvordan den eventuelle vektforandringen vil påvirke sikkerheten, sier hun ingenting om.
Vegvesenet skulle spare og valgte spansk: Vegvesenet skulle spare og valgte spansk. Prosjektet ble et mareritt

Kan forbli ubrukt
Hun minner uansett om at det er usikkert om setene i det hele tatt blir tatt i bruk.
– Airbus leverer omtrent 600 patenter i året for å beskytte sine åndsverk. Dette betyr ikke at alle patentene blir brukt, sier hun.
– Derfor er vi ikke i en posisjon der vi kan diskutere dette designet i mer detalj, sier talskvinnen til den engelske avisen.









